Notice: Undefined variable: tableInfo in /home/bjhtjxdx.com/public_html/controllers/home.con.php on line 183
发布日期:2019-12-23 | 浏览次数: | 来源:admin

优势
1.双提升设计
提升重量为1000kg,提升高度800mm,适用于货车装卸、短途搬运、车间装配等多种场合

2.免维护交流驱动系统
免维护的德国进口交流驱动系统,无论是平稳加速还是快速加速,交流驱动系统都能表现的淋漓尽致。

3. REMA长手柄
符合人体工程学,且使操作者在工作的同时,和车身保持一定的距离,增加安全性

4. CAN-BUS技术
不仅减少了接线的数量,也提高了系统的可靠性。同时方便查找并排除故障,和没有CAN-BUS技术的车辆相比,大大减少了维修时间,且不易受干扰。
5. 顶级品牌的核心部件
KORDEL变速箱、INTORQ制动器、WICK驱动轮、ZAPI控制器,这些部件的使用降低了维修成本,并保证了可靠的性能。
6.牢固和可靠的设计
结实的底盘加以8mm的防护围板可以有效防护车体和内部零部件免受外界的机械冲击。金属的电池箱盖很大限度的减少维修和电池损坏
7.静止式液压管路
起升过程中无任何液压油管的运动,增加了液压系统稳定性和安全性

8.多种规格配置
160 Ah电池使得整车长度更短 ,增加了制限制操作区域的可操作性。
210 Ah蓄电池采用电瓶侧拉式结构,满足长时间和多班次的使用要求。
其余车架、货架、电池多种规格可选,满足不同的工作需求

根据VDI 2198 标准的工业车辆类型表 | |||||
特性 | 1.2 | 型号 |
| PT 20I | |
1.3 | 动力 |
| 电动 | ||
1.4 | 操作类型 |
| 步行 | ||
1.5 | 额定承载能力(上下托盘合计) | Q ( t) | 2.0 | ||
额定承载能力(上托盘提升) | Q ( t) | 1.0 1) | |||
额定承载能力(下托盘单独提升) | Q ( t) | 2.0 1) | |||
1.6 | 载荷中心距 | C ( mm) | 600 | ||
1.8 | 前悬距 | X (mm) | 916 | ||
1.9 | 轴距 | Y (mm) | 1386 | 1557 | |
重量 | 2.1 | 自重 | kg | 656 | 863 |
2.2 | 满载时桥负荷 驱动侧/承重侧 | kg | 765/1891 | 845/2018 | |
2.3 | 空载时桥负荷 驱动侧/承重侧 | kg | 476/180 | 621/242 | |
轮子、底盘 | 3.1 | 轮子 |
| 聚氨酯轮 | |
3.2 | 轮子尺寸,驱动侧 | Æ x w (mm) | Æ 230 x70 | ||
3.3 | 轮子尺寸,承重侧 | Æ x w (mm) | Æ 80x70 | ||
3.4 | 稳定轮(尺寸) | Æ x w (mm) | Æ 100x40 | ||
3.5 | 轮子数量(x=驱动轮) 驱动侧/承重侧 |
| 1x+2/4 | ||
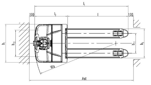
3.6 | 轮距, 驱动侧 | b10 (mm) | 510 | ||
3.7 | 轮距, 承重侧 | b11 (mm) | 380 | ||
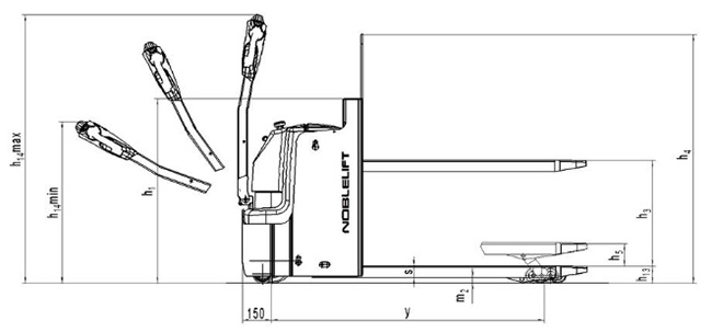
基本 尺寸 | 4.2 | 门架最低高度 | h1 (mm) | 950 | 855 |
4.4 | 提升高度 | h3 (mm) | 550 | ||
4.5 | 作业时最大高度 | h4 (mm) | 1440 | 1558 | |
4.6 | 初始提升高度 | h5 (mm) | 120 | ||
4.9 | 作业时手柄高度,最小/最大 | h14 (mm) | 820/1335 | ||
4.15 | 门架缩回时高度 | h13 (mm) | 88 | ||
4.19 | 总体长度 | l1 (mm) | 1770 | 1940 | |
4.20 | 车体长度 | l2 (mm) | 620 | 790 | |
4.21 | 总体宽度 | b1 (mm) | 729 | ||
4.22 | 货叉尺寸 | s/e/l (mm) | 60 / 180 / 1150 | ||
4.25 | 货叉外宽(上/下) | b5 (mm) | 560 | ||
4.32 | 最小离地间隙 | m2 (mm) | 28 | ||
4.33 | 通道宽度1000x1200跨货叉放置 | Ast (mm) | 1970 | 2041 | |
4.34 | 通道宽度800x1200沿货叉放置 | Ast (mm) | 2020 | 2091 | |
4.35 | 转弯半径 | Wa(mm) | 1536 | 1607 | |
性能 | 5.1 | 行驶速度 满载/空载 | km/h | 6.0/6.0 | |
5.2 | 提升速度 满载/空载 | mm/s | 95/150 | 85/140 | |
5.3 | 下降速度 满载/空载 | mm/s | 90/70 | 80/65 | |
5.8 | 最大爬坡能力 满载/空载 | % | 6/10 | ||
5.10 | 行车制动 |
| 电磁制动 | ||
电机 | 6.1 | 驱动电机功率 S2 60 | kW | 1.3 | |
6.2 | 提升电机功率 S3 10% | kW | 1.2 | ||
6.3 | 蓄电池 根据 DIN 43531/ 35/ 36 A, B, C标准 |
| 2VBS | 3VBS | |
6.4 | 蓄电池电压,额定容量 K5 | V/ Ah | 24/160 | 24/210(侧拉) | |
6.5 | 蓄电池重量(+/-5%) | kg | 150 | 185 | |
6.6 | 根据VDI循环的能耗 | kWh/h | 1.0 | ||
其它 | 8.1 | 驱动控制方式 |
| AC-速度控制 | |
8.4 | 驾驶员耳边噪声水平,根据EN12053标准 | dB(A) | <70 | ||
|
|
|
| ||
|
|
|
| ||
1)上下托盘一起提升时:上托盘额定承载能力为1.0t,下托盘额定承载能力为1.0t | |||||

联系我们
CONTACT___US北京弘途机械设备有限公司
公司门店:
大兴地址:北京市大兴区庞各庄镇
顺义地址:北京市顺义区马坡桥北路东
廊坊地址:河北省廊坊市经济开发区北环道后王各庄
天津地址:天津市北辰区淮河道2号地天泰工业园
网址:www.bjhtjxdx.com
邮箱:fanghongxi8888@163.com